Все о луках, арбалетах

Все об арбалетах, луках

арбалетно-лучный портал, развлекательные, охотничьи, спортивные и элитные арбалеты, стрельба из арбалета

Арбалеты
Главная
Статьи
Мастерская
Библиотека
Изготовление
Фотогалерея
Спорт
Контакты
Сайты сети
Интернет-магазин - арбалеты, луки, стрелы - охотничьи, спортивные, элитные арбалеты. Арбалеты от ведущих российских производителей. Бесплатная доставка по Москве! Скидки, подарки!
Все о луках - информационный портал о блочных, классических и традиционных луках, лучной стрельбе, спорте, изготовлении луков.
Форум - место для обсуждения всего, что так или иначе связано с арбалетами, луками, стрелами - отзывы, рекомендации ...
Японские ножи
Полезное
Выездные лучные, арбалетные тиры в Киеве

Предлагаем Вам выездной лучный, арбалетный тир как отличное дополнение к отдыху на свежем воздухе - корпоративному мероприятию, дню рождения, выезду на природу. Ваши коллеги и друзья будут в восторге от возможности пострелять из арбалетов, луков!

[подробнее...]
Главная / Изготовление

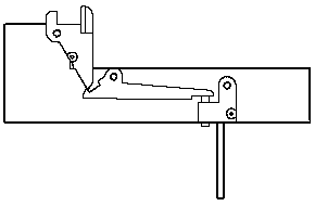
Спусковой механизм

Современные - профессиональные

Механизм №1

Вариант №1

Вариант №2


Фотографии отдельных частей

 

Механизм №2

 

Механизм №3

 

Механизм №4





Copyright © 2002-2026
Все об арбалетах, луках - информационно-познавательный портал
Rambler's Top100